8 (925) 663-83-63Call-центр
пн-вс: 10:00-19:00
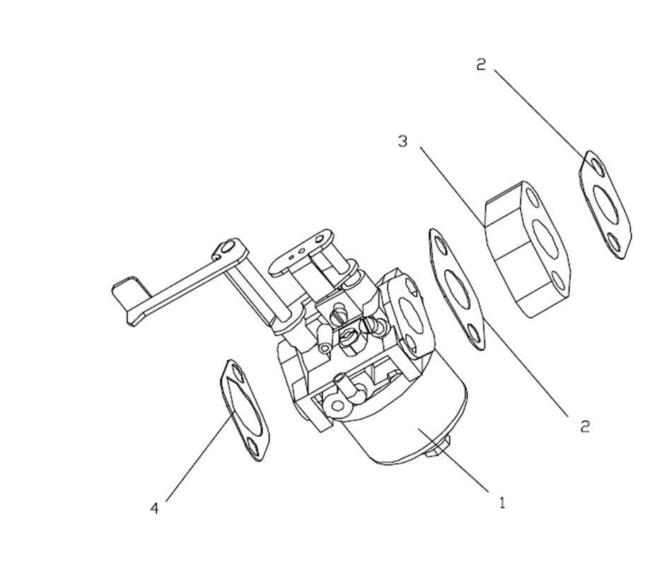
| N | Артикул | Название | Срок отгрузки | Цена | Купить |
| 1 | 0400.310500 | Карбюратор в сборе для 154F 1806192022P15A 154.2 260.001.00.00 КБ 4 (Е1603.001.00) | 1.311 р. | ||
| 2 | 0400.310550 | Прокладка изолятора 154.3 080.002.00.00 КБ 4 (Е1603.001.00) | 48 р. | ||
| 3 | 0400.310600 | Изолятор 154.2 300.001.00.00 КБ 4 (Е1603.001.00) | 48 р. | ||
| 4 | 0400.310650 | Прокладка воздушного фильтра 154.3090.002.00.00 КБ 4 (Е1603.001.00) | 48 р. |
| Найдено товаров: 4 |
|
8 (925) 663-83-63 Call-центр
пн-вс: 10:00-19:00
| Введите номер заказа |
| Введите номер своего заказа, что бы узнать его текущий статус. Что бы получить доступ к расширенным функциям, пройдите не сложную регистрацию. Зарегистрироваться |